Bremsgestängesteller-Abzieher | für Haldex-Bremse | 160 mm BGS74330
- ermöglicht das Abziehen fest sitzender Bremsgestängesteller
- ringförmige Auflagefläche für sicheren Halt
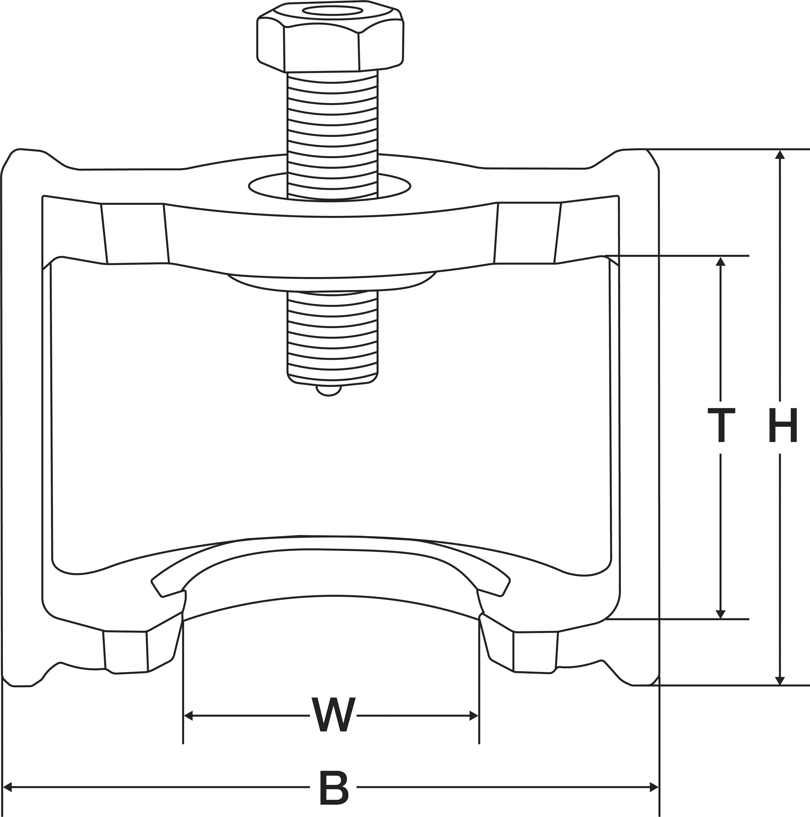
- Abzieherinnentiefe: 78 mm
- Abzieherinnenbreite: 65 mm
Details
Antriebsprofil: Außensechskant$Breite: 160 mm$Bruttogewicht: 2638 g$Höhe: 127 mm$Schlüsselweite Betätigungssechskant: 32 mm$Spindelgewinde: M22 x 1,5 $Spindellänge: 95 mm
Weitere Informationen
| Preis | 119,99 € |
|---|---|
| Menge | Stück |
Bewertungen
Schreiben Sie eine Bewertung
